Распространенные проблемы с карданом
Можно выделить несколько наиболее часто встречающих неисправностей, с которыми люди приезжают к мастерам. Я неоднократно встречал подобные проблемы и устранял их. Чаще всего кардан страдает от следующих проблем:
- полная негодность подвесного подшипника либо необходимость его отцентровки;
- износ крестовины;
- разбитие шлицевых соединений;
- люфт в хвостовике редуктора либо во вторичном вале КПП;
- неисправность ступичных подшипников.
Также если присутствует сильная вибрация, то стоит обратить внимание на колеса. Возможно, что они разбалансировались, и им тоже требуется помощь специалиста
Для того, чтобы выявить конкретную причину вибрации или другого неприятного симптома, необходимо провести подробную диагностику.
Иногда можно непосредственно по характеру звуков или других симптомов понять, что именно сломалось в карданном вале. Я могу назвать несколько признаков, которые явно сигнализируют о том, что в узле что-то не в порядке. Сюда стоит отнести следующие симптомы:
- щелчки, которые раздаются во время езды на маленькой скорости или при начале движения;
- хруст во время перемещения на небольшой скорости;
- гул, который обычно слышится на разной скорости и усиливается при ускорении;
- вибрация, также усиливающаяся при увеличении скоростного режима;
- глухие удары, которые слышатся при переключении передач;
- очень жесткая вибрация, тряска на большой скорости.
Щелчки, вибрация и хруст обычно сообщают о том, что настала пора менять крестовину. Также они могут свидетельствовать о проблеме с подвесным подшипником. Если слышатся глухие удары, то проблема также наверняка скрывается в подшипнике. Его резиновая муфта изнашивается, вследствие чего и слышатся удары. Очень жесткая вибрация на высокой скорости является симптомом механического повреждения кардана. Также она ощущается при разбалансировке узла.
Некоторых клиентов интересует, почему же возникают неисправности кардана. Здесь все очень просто, и порой некоторые причины можно устранить, чтобы оттянуть необходимость ремонта и подольше сохранить вал в нормальном состоянии. Чаще всего проблемы с карданом возникают из-за следующих предпосылок:
- резкое начало движения с места;
- слишком суровые условия эксплуатации, которые, кстати, и не только на кардан повлияют негативно;
- передвижение по песочной поверхности и грязи;
- частая езда по воде, приводящая к вымыванию смазочного материала;
- использование авто при слишком низких температурах;
- езда по бездорожью;
- наезд на препятствие, в роли которого может выступать камень или бордюр;
- превышение моторесурса деталей, то есть срока, в течение которого они могут полноценно использоваться (параметр устанавливается заводом-изготовителем).
Утечка масла в сочленении коробки и передней части карданного вала
Встречается на автомобилях со шлицевым соединением, расположенном в коробке или раздатке.
Причины появления протечки:
- Протечка масла происходит вследствие дефекта сальника в коробке. Уплотнительное кольцо со временем дубеет, образуя щель между подвижным штоком кардана и сальником. Устраняется заменой сальника в коробке, раздатке.
- Нарушение зеркала на подвижном штоке (шлицевом соединении) карданного вала. Появление на шлицах заусениц или шероховатостей. Лечиться заменой шлицов. Как временный вариант заусенцы можно зачистить шкуркой «нулевкой», уменьшающий протечку.
Порядок ремонта
Если говорить о стандартном ремонте, то он, как мы уже говорили выше, проводится в зависимости от степени износа отдельных элементов вала. Стандартный ремонт карданного вала – это замена его крестовин с подшипниками, подвесных подшипников, динамическая балансировка. Некоторые компании дополняют технологическую цепочку также и окраской вала – для придания ему товарного вида. Однако эта операция не обязательна, так как не влияет на ресурс и надежность отремонтированной передачи. По сути большинство приходящих в ремонт валов ремонтируется именно по данной схеме. Примечательно, что процесс ремонта предусматривает замену всех крестовин и подвесных подшипников одновременно. Дело в том, что если произвести замену одного лишь компонента, то гарантии того, что через короткий срок (пробег) из строя не выйдут другие узлы, нет. А поскольку процесс ремонта предусматривает демонтаж передачи с автомобиля и, следовательно, его простой в ремонтной зоне, то, чтобы сократить потери перевозчика от снятия машины с линии, ремонт должен производиться только комплексно.
Более серьезный ремонт предполагает добавление таких технологических операций, как сварочные работы по замене вилок и шлицевых пар. В этом случае крайне важно, чтобы у ремонтной организации имелся в наличии сварочный аппарат, позволяющий весьма гибко подбирать условия сварки деталей для получения качественного, крепкого соединения. Не секрет, что любой сварочный шов есть концентратор напряжений и по нему часто происходит разрушение вала при превышении передаваемых им нагрузок выше предельных (расчетных). Обваривание соединений выполняется на специальных станках в автоматическом режиме в среде защитного газа (Ar + CO2). Последний уменьшает воздействие кислорода воздуха на сварочную ванну и позволяет получить шов с максимальными прочностными характеристиками.
( 2 оценки, среднее 4.5 из 5 )
Разгибание проушин вилки, обрыв шейки шипа крестовины.
Причины возникновения неисправности:
- Карданный вал работает с постоянной перегрузкой. Пиковые нагрузки на кардан, слишком велики, для данного типа смазки.
- Заклинивание подшипников крестовины, отсутствие смазки.
- Установка некачественных крестовин, вилок.
Устранение неисправности:
- Не допускать превышения крутящего момента.
- Установить на карданный вал предохранительную муфту.
- Проверить исправность предохранительной муфты при ее наличии.
- Увеличить интервалы обслуживания крестовин.
- Использовать в ремонте, только оригинальные запчасти карданных валов.
Увеличенный износ шеек (шипа) крестовины карданного вала.
Причины возникновения неисправности:
- Применяемый карданный вал не рассчитан на нагрузку, которую он передает в процессе работы.
- Заклинивание игольчатых подшипников крестовины, отсутствие смазки, несоответствующий тип используемого смазочного материала.
- Установка некачественных крестовин, при ремонте карданного вала.
Устранение неисправности:
- Проверить мощностные характеристики рабочего устройства. Не превышайте величину крутящего момента и скорости вращения, предписанных в инструкции на сельскохозяйственную технику, на которой применяется карданный вал.
- Увеличить интервалы обслуживания крестовины. Использовать соответствующую смазку, для шарнирных соединений карданного вала.
- Ремонт кардана, следует производить в специализированных мастерских, при использовании оригинальных крестовин.
Чрезмерный износ профильных труб или шлицевых соединений.
Причины возникновения неисправности:
- Недостаточное количество смазки в профильной трубе или шлицевом соединении карданного вала.
- Неверно подобрана длина кардана.
- Поврежден защитный кожух или пыльник кардана, влечет за собой попадание грязи в профильную трубу, шлицевую часть, происходит выкидывание смазки.
Устранение неисправности:
- Увеличить интервалы смазки шлицевого соединения, профильной трубы кардана.
- Проверить длину карданного вала. Заменить его на более длинный.
- Произвести замену защитного кожуха, пыльника шлицевого соединения.
Техника безопасности установки карданных валов и их технического обслуживания.
Перед началом эксплуатации, необходимо изучить инструкцию по установке и эксплуатации карданного вала, а так же руководство по эксплуатации трактора и сельскохозяйственной машины.
- Установка карданного вала, производится при выключенном двигателе трактора, вращающиеся части неподвижны. Не производите установку, обслуживание карданных валов, при включенном двигателе и работающем валом отбора мощности.
- Во время работы техники, не приближайтесь к вращающемуся кардану.
- Ремонт карданного вала, осуществляется в специализированных мастерских. Установка карданного вала, требует наличие специального инструмента и требующих навыков работы с узлами трансмиссии.
- Вращающиеся части сельхоз кардана, должны иметь защитные кожухи. Убедитесь, что на защитном кожухе нет следов повреждения. Защитный кожух не должен вращаться вместе с силовой частью.
- После установки карданного вала, убедитесь что, защитные козырьки трактора и рабочего устройства обеспечивают единую систему с защитным кожухом кардана.
- Не используйте карданную передачу в качестве ступенек или подставок.
- Транспортировка карданных валов, осуществляется в горизонтальном положении. При транспортировке не рассоединяйте части карданного вала.
Кардан ВалТехно, осуществляет поставки карданных валов, универсальных крестовин, широкоугольных крестовин, профильных труб, шлицевых соединений для сельскохозяйственных машин. Ежемесячные поставки запчастей из Европы.
Назначение и устройство карданного вала ВАЗ 2107
Карданный вал — механизм, соединяющий коробку передач с редуктором заднего моста и предназначенный для передачи крутящего момента. Наибольшее распространение передача такого типа получила на автомобилях с задним и полным приводом.
Устройство кардана
Карданный вал ВАЗ 2107 состоит из следующих элементов:
- одна или несколько секций из тонкостенной полой трубы;
- шлицевое раздвижное соединение;
- вилка;
- крестовина;
- подвесной подшипник;
- элементы крепления;
- задний подвижный фланец.
  Карданный вал ВАЗ 2107 имеет довольно простое устройство
Карданный вал ВАЗ 2107 имеет довольно простое устройство
Карданная передача быть одновальной или двухвальной. Второй вариант предполагает использование промежуточного механизма, к задней части которого прикреплён хвостовик со шлицами снаружи, а на передней через шарнир зафиксирована скользящая втулка. В одновальных конструкциях промежуточный участок отсутствует.
Передняя часть кардана крепится к коробке передач через подвижную муфту на шлицевом соединении. Для этого на конце вала есть отверстие с внутренними шлицами. Устройство кардана предполагает продольное перемещение этих шлицов в момент вращения. Конструкцией также предусмотрен подвесной подшипник, прикреплённый с помощью кронштейна к кузову. Он является дополнительной точкой крепления кардана и предназначен для ограничения амплитуды его движения.
Между средним и передним элементом карданного вала расположена вилка. Вместе с крестовиной она передаёт крутящий момент при изгибе кардана. Задняя часть вала прикреплена к редуктору заднего моста через фланец. Хвостовик посредством внешних шлицов входит в зацепление с фланцем главной передачи.
Кардан является унифицированным для всех классических моделей ВАЗ.
Устройство крестовины
Крестовина ВАЗ 2107 предназначена для совмещения осей кардана и передачи момента при изгибе его элементов. Шарнир обеспечивает соединение вилок, прикреплённых к концам механизма. Основным элементом крестовины являются игольчатые подшипники, благодаря которым кардан может двигаться. Эти подшипники вставляются в отверстия вилок и фиксируются стопорными кольцами. При износе шарнира карданный вал начинает стучать во время движения. Изношенная крестовина всегда меняется на новую.
 Брагодаря крестовине становится возможным вращение кардана под разными углами
Брагодаря крестовине становится возможным вращение кардана под разными углами
Виды карданных валов
Карданные валы бывают следующих типов:
- с шарниром равных угловых скоростей (ШРУС);
- с шарниром неравных угловых скоростей (классическая конструкция);
- с полукарданными упругими шарнирами;
- с жёсткими полукарданными шарнирами.
Классический кардан состоит из вилки и крестовины с игольчатыми подшипниками. Такими валами оснащается большая часть заднеприводных автомобилей. Карданы со ШРУСами обычно устанавливаются на внедорожниках. Это позволяет полностью устранить выбрацию.
 Существует несколько видов карданов: на ШРУСах, с упругими и жесткими шарнирами
Существует несколько видов карданов: на ШРУСах, с упругими и жесткими шарнирами
Механизм с упругими шарнирами состоит из резиновой муфты, способной передавать крутящий момент при углах не более 8˚. Так как резина довольно мягкая, кардан обеспечивает плавное начало движения и предотвращает резкие нагрузки. Такие валы не нуждаются в техническом обслуживании. Жёсткий полукарданный шарнир имеет сложную конструкцию, предполагающую передачу крутящего момента благодаря зазорам в шлицевом соединении. Такие валы имеют ряд недостатков, связанных с быстрым износом и сложностью изготовления, и в автомобильной индустрии не используются.
Шрусовый кардан
Несовершенство конструкции классического кардана на крестовинах проявляется в том, что при больших углах возникают вибрации и теряется крутящий момент. Карданный шарнир может отклониться максимум на 30–36˚. При таких углах механизм может заклинить или совсем выйти из строя. Этих недостатков лишены карданные валы на ШРУСах, обычно состоящие из:
- шариков;
- двух колец (наружного и внутреннего) с канавками для шариков;
- сепаратора, ограничивающего движение шариков.
Максимально возможный угол наклона кардана такой конструкции составляет 70˚, что заметно выше, чем у вала на крестовинах. Существуют и другие конструкции шрусовых карданов.
 Шрусовой кардан позволяет передавать крутящий момент под большими углами
Шрусовой кардан позволяет передавать крутящий момент под большими углами
Способ исправить и замена карданного вала
Поврежденная крестовина приводного вала или шарнира — еще одна неисправность, которую лучше всего устранить, заменив поврежденный элемент. Поломка крестовины вала, повреждение крепления крестовины — встречается редко и приводит к полной потере привода. Решение? Замена и это вместе с капитальным ремонтом
При необходимости очень важно своевременно провести регенерацию в легковых автомобилях, внедорожников, фургонов, грузовиков, автобусов, гидравлических насосов и других компонентов транспортных средств, промышленной, горнодобывающей и другой техники
В зависимости от типа поломки проводят:
• замену крестовины; • проверяют фланцевое соединение; • проверяют трубчатый шарнир (копыто); • ремонтируют муфты; • проводится замена трубы, а также своевременная правка трубы; • проводят удлинение или укорочение; • замена шлицевых скользящих; • переделка неразборных приводных в разборные; • балансировка.
Очень важно, чтобы проводил балансировку грамотный мастер. Стоит отметить, что не всегда нужна покупка чего-то нового. Иногда ремонт обходится и дешевле, если есть возможность устранить сопутствующие проблемы в работе того или иного узла
Иногда ремонт обходится и дешевле, если есть возможность устранить сопутствующие проблемы в работе того или иного узла
Стоит отметить, что не всегда нужна покупка чего-то нового. Иногда ремонт обходится и дешевле, если есть возможность устранить сопутствующие проблемы в работе того или иного узла.
Что касается балансировки, то она осуществляется в несколько шагов:
1. Проверка состояния и степени износа. 2. Демонтаж карданной передачи. 3. Проверка всех элементов. 4. Замена поврежденных деталей приводного, в случае необходимости. 5. Выпрямление карданной передачи на прессе для правки. 6. Смазка крестоносцев, шарниров. 7. Проведение динамической балансировки с точностью до 1г (балансировка). 8. Покраска и защита от коррозии. 9. Установка узла на место. 10. Тест-драйв.
Крестовины надежны и самые нагруженные узлы в процессе работы, поэтому их приходится нередко ремонтировать, обновлять.
Один из важных компонентов подшипники, которые воспринимают все нагрузки на себя (осевая, радиальная), обеспечивая нормальное вращение, качение. Это один из самых нагруженных узлов, которому необходимо проводить регулярное ТО.
Чем больше угол работы вала, тем большую нагрузку переносят его крестовины. Требуют периодической смазки и контроля зазора.
Узел имеет сложную конструкцию, поэтому качество изготовления должно быть на первом месте. Необходимо соблюдать размеры, допуски, требования к обработке (термообработке), нарезке резьбы, заявленные конструктором.
На рынке представлено очень много дешевых китайских замен, у которых срок службы очень короткий. Слабый герметик приводит к вытеканию смазки, а применение некачественных материалов в процессе изготовления приводит к быстрой поломке (появление люфта), так как узел не рассчитан на восприятие требуемых нагрузок. Подобное происходит при применении мягких сплавов, которые используются для снижения стоимости изделий.
Слишком твердая сталь вызывает трещины корпуса или чашки. Но несмотря ни на что, даже такая деталь подлежит ремонту, а не замене. Что существенно удешевит ремонт. Сначала изнашиваются поперечные и опорные подшипники, затем наиболее распространенные шлицевые соединения при компенсации длины. Повреждение фланцев, труб и соединений труб происходит относительно реже. Замена отдельных компонентов требует балансировки вала, если только он не работает на очень низкой скорости (обычно менее 500 об / мин).
Требования, предъявляемые к устройству карданных передач
• возможность передачи крутящего момента под большим углом (до 45°);
• передача крутящего момента не должна сопровождаться большими дополнительными динамическими нагрузками в трансмиссии;
• при любых условиях эксплуатации должен обеспечиваться высокий КПД передачи.
Карданные шарниры можно разделить:
• по кинематике на синхронные (равные угловые скорости) и асинхронные (неравные угловые скорости);• по конструкции на полные, полу карданные — жесткие (угол до 2°) и упругие (угол до 12°).
Конструкция карданной передачи ЗИЛ включает в себя:
• промежуточный полый карданный вал, на одном конце которого приварена вилка, на другом — шлицевая втулка;
• скользящую шлицевую вилку;
• карданный вал, на концах которого приварены вилки карданных шарниров;
• три карданных шарнира неравных угловых скоростей, состоящих из двух вилок и крестовины с четырьмя шипами под игольчатые подшипники крепления с вилками;
• промежуточную опору, состоящую из кронштейна опоры, полушки опоры, скобы крепления подушки, шарикоподшипника с гайкой крепления.

Расположение карданных передач на автомобилях:
а — легковом; б — грузовом; — фуэовых повышенной проходимости;1 — коробка передач; 2, 4 и 9 и 11— карданные 3 и 10 — задние ведущие мосты; 5 — промежуточная опора; 6 — раздаточная коробка; 8 — передний ведущий мост.
Трансмиссия автомобиля с полным приводом состоит их нескольких карданных передач с карданными шарнирами неравных угловых скоростей, также существуют карданные передачи с карданными шарнирами равных угловых скоростей, которые установлены в приводе управляемых ведущих колес.
Общее устройство карданной передачи:
Давайте с вами рассмотрим устройство основных частей карданной передачи.
Карданный шарнир неравных угловых скоростей состоит из двух вилок 1, соединенных крестовиной 3. Одна вилка имеет фланец, а другая приварена к трубе карданного вала или выполнена с шлицевым наконечником 6 для соединения с карданным валом. Шипы крестовины устанавливаются в проушины обеих вилок на игольчатых подшипниках 7. Подшипники размещаются в корпусе 2 и удерживаются в проушине вилки с помощью крышки, которая крепится к вилке двумя болтами, со стопорами. В отдельных случаях подшипники закрепляются в вилках. Чтобы в подшипник не попадала грязь и пыль, в нем имеется сальник. С помощью масленки полость крестовины наполняется смазкой, которая в итоге смазывает подшипники. Шлицевое соединение 6 смазывается с помощью масленки 5.
Максимальный угол между осями валов не должен превышать 20°. Это связано с тем, что работа при больших углах значительно снижает КПД использования карданных передач.
Карданные валы выполняются трубчатыми, из стальных цельнотянутых или сварных труб. К трубам привариваются вилки карданных шарниров, шлицевые втулки или наконечники. После сборки карданного вала с карданными шарнирами проводят динамическую балансировку для уменьшения поперечных нагрузок, которые действую на карданный вал. Чтобы устранить дисбаланс к карданному валу приваривают балансировочные пластины.
 Карданный шарнир равных угловых скоростей состоит из двух вилок, пяти шариков, штифта, стопорной шпильки. Ведущая вилка изготавливается цельно с полуосью 6, а ведомая вилка цельно с приводным валом 23 колеса. В каждой вилке 3 и 4 имеются четыре канавки, в которых устанавливаются четыре ведущих шарика 7, через которые передается вращение от одной вилки к другой. При любом угле между валами боковые шарики в канавках вилок находятся в плоскости, делящей этот угол пополам, благодаря чему вращение от ведущего вала к ведомому передается равномерно. Центральный (пятый) шарик 2 помещается между торцами вилок и обеспечивает их центрирование. Для возможности установки ведущих шариков в канавки вилок центральный шарик имеет лыску с отверстием, которым он при сборке карданного шарнира устанавливается против вставляемого бокового шарика. После сборки карданного шарнира центральный шарик фиксируется в определенном положении штифтом 6, закрепляемым стопорной шпилькой 5 в отверстии ведомой вилки.
Карданный шарнир равных угловых скоростей состоит из двух вилок, пяти шариков, штифта, стопорной шпильки. Ведущая вилка изготавливается цельно с полуосью 6, а ведомая вилка цельно с приводным валом 23 колеса. В каждой вилке 3 и 4 имеются четыре канавки, в которых устанавливаются четыре ведущих шарика 7, через которые передается вращение от одной вилки к другой. При любом угле между валами боковые шарики в канавках вилок находятся в плоскости, делящей этот угол пополам, благодаря чему вращение от ведущего вала к ведомому передается равномерно. Центральный (пятый) шарик 2 помещается между торцами вилок и обеспечивает их центрирование. Для возможности установки ведущих шариков в канавки вилок центральный шарик имеет лыску с отверстием, которым он при сборке карданного шарнира устанавливается против вставляемого бокового шарика. После сборки карданного шарнира центральный шарик фиксируется в определенном положении штифтом 6, закрепляемым стопорной шпилькой 5 в отверстии ведомой вилки.

Устройство карданных шарниров равных угловых скоростей: а — шариковый; б — кулачковый; 1 — ведущие (боковые) шарики; 2 — центральный шарик; 3, 4, 7, 11 — вилки; 5 — шпилька; 6 — штифт; 8, 10 — кулачки; 9 — диск.
Карданные валы и вилки изготавливаются из углеродистой, а крестовины — из хромистой и хромоникелевой сталей. Для смазывания карданных передач применяется трансмиссионное масло — нигрол.
Карданные шарниры равных угловых скоростей базовых автомобилей
			Карданные шарниры равных угловых скоростей обычно применяют в
			приводах ведущих управляемых колес автомобиля. В зависимости от
			конструкции их делят на шариковые (с делительными канавками и с
			делительным рычажком), кулачковые (с диском и без диска) и сдвоенные
			с крестовиной.
			
			Шариковый шарнир с делительными канавками (рис. 5.4, а) имеет два
			кулака 2 и 4, изготовленные заодно с валами 1 и 5. В кулаках
			выполнено по четыре канавки, в каждую из которых заложены шарики 3.
			Для центрирования вилок в одной из них устанавливается на штифте 8
			центрирующий шарик 6 с лыской, которая нужна для прохода рабочих
			шариков 3 при сборке. Штифт 8 фиксируют в свою очередь штифтом 7.
Рис. 5.4. Шариковые карданные шарниры:
а с делительными канавками; б с делительным рычажком
			Средние линии канавок представляют собой окружности
			равного радиуса с центрами О1и
			О2,
			которые находятся на одинаковом расстоянии от центра карданного
			шарнира О. В результате при любом угле между валами рабочие шарики 3
			удерживаются в плоскости, проходящей через точки пересечения средних
			линий канавок 2 и 4 и делящей пополам угол между осями валов. При
			вращении валов 1 и 5 крутящий момент передается от одного кулака к
			другому через два шарика.
			Сборка шарнира – селективная. Для этого подбираются шарики
			одинакового диаметра в пределах жесткого допуска.
В шариковом карданном шарнире с делительным рычажком
			(рис. 5.4, б) связь между ведущей звездочкой 11 и сферической чашкой
			9, выполненной как одно целое с валом 15, осуществляется шестью
			шариками 12, заключен-
			ными в сепаратор 10. При повороте вала 15 относительно вала ведущей
			звездочки делительный рычажок 14 через направляющую чашку 13
			поворачивает сепаратор, и шарики устанавливаются в биссекторной
			плоскости, т.е. плоскости, делящей угол между осями вала 15 и вала
			ведущей звездочки 11 пополам. Крутящий момент в этом шарнире
			передается через все шарики. Поэтому нагрузка меньше, чем в шарнире
			с делительными канавками, и они могут передавать больший крутящий
			момент.
			
			На рис. 5.5 показан привод колес управляемого ведущего моста
			автомобиля с кулачковым карданным шарниром равных угловых скоростей
			с диском. В вилках 4 и 7 валов 1 и 6 выполнены цилиндрические пазы,
			оси образующих которых перпендикулярны к валам. В пазах вилок
			установлены кулаки 5 и 8, шарнирно соединенные между собой диском 9,
			входящим в их вырезы. При передаче вращения, когда валы 1 и 6
			расположены под углом, каждый из кулаков поворачивается одновременно
			относительно вилки и диска. Оси пазов вилок лежат в одной плоскости
			с осями валов и расположены на одинаковых расстояниях от точки их
			пересечения. Поэтому точка пересечения осей пазов при любом
			положении вилок находится в биссекторной плоскости.
Рис. 5.5. Кулачковые карданные шарниры:
			а с диском в приводе управляемого ведущего моста автомобиля; б
			детали кулачкового карданного шарнира с диском; в без диска; 1
			ведущий вал; 2 поворотная цапфа; 3 уплотнительные манжеты; 4, 7 —
вилки; 5,8кулаки; 6 внутренняя полуось; 9
			диск; 10 обод колеса; 11 камера шины; 12,17 вилки; 13, 16 кулаки; 14
			шип; 15 паз
			Кулачковый шарнир без диска (рис.5.5, в) состоит из вилок 12 и 17, в
			которых установлены два кулака 13 и 16, соединенные между собой с
			помощью шипа 14 и паза 15.
			Кулачковые карданные шарниры могут работать при углах
			между валами до 50.
			Благодаря большой плоскости контакта поверхностей деталей,
			через которые передаются нагрузки, кулачковые шарниры имеют
			сравнительно небольшие размеры. Основной их недостаток – более
			низкий КПД, чем у шариковых
			шарниров. Они больше нагреваются, создают шум при работе, быстро
			изнашиваются и требуют обильного смазывания.
			Сдвоенные карданные шарниры (рис. 5.6) представляют собой карданную
			передачу с двумя шарнирами неравных угловых скоростей, у которой
			длина карданного вала равна нулю, вилки расположены в одной
			плоскости и центрирующим устройством обеспечивается равенство углов
			наклона валов. Устройство состоит из сферической обоймы 6,
			вставленной в уширение вала 1, сферического сухаря 7, установленного
			на конце вала 4, и резинового защитного чехла 5. Валы 1 и 4 имеют
			проушины. Втулки 2 соединяют валы с составными крестовинами 3.
			Крестовины установлены в корпусе шарнира 8.
			
Рис. 5.6. Сдвоенный карданный шарнир
			Сдвоенный шарнир может работать при углах между
			валами до 40.
			Недостатком такого шарнира является его конструктивная сложность, а
			также то, что он не может передавать большие крутящие моменты из-за
			ограничения давления иголок на палец крестовины.
Шуршащий звук
Неисправен подвесной подшипник кардана.
При появлении хотя бы одного из вышеперечисленных признаков в своем автомобиле, обязательно обратитесь в специализированный сервис. В противном случае все может обернуться серьезными проблемами.
Компания «Механика» осуществляет качественный ремонт кардана в Череповце и Вологде по доступным ценам. Мы являемся специализированным сервисом, имеющим только профильное высокоточное оборудование. Все наши сотрудники имеют огромный опыт, при этом постоянно совершенствуют свои навыки. Мы отвечаем за качество и даем гарантию до 6 месяцев.
Получите бесплатную консультацию и узнайте стоимость ремонта
Источник
Распространенные неисправности кардана
Ремонт карданной передачи чащ всего требуется при нарушении сроков ТО или проведении некачественно обязательных работ. Поломки могут возникать и при сильных механических воздействиях на кардан, отмечающихся при небрежной эксплуатации авто. Устройство карданной передачи не отличается сложностью, и к основным проблемам, которые могут возникать относятся следующие:
- разбалтывание креплений;
- сильный износ шеек;
- физический износ крестовин или шарниров.
Стоит отметить, что эксплуатировать транспортное средство, кардан которого неисправен, не только недопустимо правилами, но и просто опасно. Далеко не все автолюбители знают, что кардан нуждается в балансировке. Его вращение происходит всегда с большой скоростью, а отсутствие балансировки незамедлительно приводит к возникновению выраженной вибрации, которая способствует ослаблению крепления и быстрому износу основных его узлов. Балансировка кардана в любом случае обязательна после работ по его ремонту, при котором он демонтировался. Лучше всего проводить эту процедуру на специальном стенде, в условиях специализированной мастерской.

Наиболее уязвимым местом карданной передачи можно считать шарниры, которые могут быстро изнашиваться вне зависимости от привода машины, особенно при эксплуатации в достаточно экстремальных условиях: пересеченная местность, тяжелое бездорожье, гонки
Плавное управление авто особенно важно для авто с передним приводом. Постоянного контроля требуют и пыльники, или защитные чехлы, надежно предохраняющие внутренние механизмы от грязи и воздействия агрессивных веществ окружающей среды. Если при осмотре на них обнаруживаются трещины или разрывы, они подлежат незамедлительной замене
В противном случае в скором времени не избежать дорогостоящего ремонта. Не станет новостью и тот факт, что разборка и сборка карданной передачи должна проводится опытным человеком
Если при осмотре на них обнаруживаются трещины или разрывы, они подлежат незамедлительной замене. В противном случае в скором времени не избежать дорогостоящего ремонта. Не станет новостью и тот факт, что разборка и сборка карданной передачи должна проводится опытным человеком.
В том случае, если при движении авто обнаруживаются посторонние шумы, опытный водитель может использовать их для диагностики кардана. Так, признаком скорого выхода из строя карданной передачи в связи с износом говорят щелчки, раздаваемые при начале движения авто, а также при поворотах ведущих колес, в особенности на предельные углы. При возникновении сильной вибрации на сбалансированном кардане следует проверить подшипник, расположенный на опоре самого карданного вала – это актуально для ТС с задним приводом. О принципе работы карданной передачи можно посмотреть на видео:
https://youtube.com/watch?v=apqd2-CE_VY
- Адаптивная регулируемая подвеска
- Как пользоваться перехватывающими парковками
- Устройство тормозного суппорта
- Как правильно прокачать сцепление
Ремонт карданной передачи ГАЗ 2705
Снятие карданной передачи с автомобиля
| 
 | Рис. 5.28. Карданная передача с промежуточной опорой: Г — место допустимых ударов при сборке; 1 — манжета; 2 — игольчатый подшипник; 3 — стопорное кольцо; 4 — крестовина; 5 — торцевая шайба; 6 — скользящая вилка; 7 — масленка; 8 — балансировочная пластина; 9 — подушка опоры; 10 — подшипник промежуточной опоры; 11 — шлицевая вилка; 12 — задний карданный вал; 13 — фланцевая вилка; 14 — кольцо уплотнительное; 15 — стопорная пластина; 16 — болт; 17 — шайба | 
Перед снятием карданной передачи необходимо сделать метки взаимного углового положения скользящей вилки и вала коробки передач. Метки удобно делать краской на отражателе скользящей вилки и удлинителе коробки передач. Затем очистить от грязи выступающую резьбовую часть болтов крепления к фланцу заднего моста и отвернуть их. Отвернуть гайки крепления промежуточной опоры и освободить ее от поперечины рамы. После этого надо сдвинуть карданную передачу вперед, отсоединить ее от фланца моста. Для облегчения этой операции при необходимости можно ударить молотком через медную прокладку по фланцу заднего шарнира в месте, обозначенном буквой А (см.
| Рис. 5.30. Разборка карданного шарнира: 1 — кольцо; 2 — фланец шарнира; 3 — оправка; 4, 6 — подшипники; 5 — пресс-масленка | 
После снятия колец выпрессовать подшипники в тисках, как показано на 
| Рис. 5.31. Последовательность сборки карданного шарнира: 1 — кольцо; 2 — стопорное кольцо | 
— вставить подшипники в отверстия вилки, частично надев их на шипы, и, вращая крестовину в разные стороны (рис. 5.31 А), плавно сдвинуть подшипники до упора (рис. 5.31 В);
— легким ударом молотка установить стопорное кольцо 2 в канавку подшипника. При этом кольцо необходимо придерживать, так как возможно его вылетание из канавки;
— поставить кольцо-оправку 1 на внешний торец ушка вилки с застопоренным подшипником (рис. 5.31 С) и допрессовать крестовину с подшипниками до упора стопорного кольца в подшипник и вилку, затем вставить второе стопорное кольцо;
— собрать вторую половину шарнира в той же последовательности.
У собранного шарнира не должно быть заеданий и переменного усилия проворачивания. Момент проворачивания шарниров не должен превышать 2 Н·м (0,2 кгс·м). Если шарниры тугие, нужно несколько раз ударить молотком в местах, обозначенных буквой А (см. рис. 5.28);
Промежуточная опора собирается в следующем порядке:
— запрессовать подшипник в обойму до упора, прилагая усилие к наружному кольцу подшипника;
— обойму с подшипником установить во внутреннюю полость подушки промежуточной опоры;
— промежуточную опору с подшипником установить на шлицевой конец до упора в буртик, прилагая усилие к торцу обоймы подшипника;
— вложить в канавку шлицевой вилки уплотнительное кольцо;
— установить шлицевую вилку 11 на шлицы хвостовика по ранее нанесенным меткам;
— болт 16 с надетыми на него стопорной пластиной 15 и шайбой 17 ввернуть на 2-3 нитки резьбы в торец шлицевого конца промежуточного вала; установить шайбу 17 в прорезь шлицевой вилки 11 так, чтобы овальное отверстие шайбы 17 было параллельно оси отверстий ушек вилки;
— разместив фиксирующий усик стопорной пластины 15 в овальном отверстии шайбы 17, прижать пластину шайбе и довернуть болт 16, затянув его моментом 40-45 H·м (4,0-4,5 кгс·м).
— застопорить болт 16, отогнув на грани его головки лепестки стопорной пластины 15;
— проверить легкость вращения подшипника промежуточной опоры, устранив при необходимости причину задевания деталей;
— застопорить болт 16, отогнув на грань его головки лепестки стопорной пластины 15.
После сборки карданной передачи необходимо произвести ее динамическую балансировку.
Установка карданной передачи на автомобиль
Первоначально необходимо вставить скользящую вилку переднего шарнира в удлинитель коробки передач. Фланец заднего шарнира соединить с фланцем ведущей шестерни заднего моста и затянуть резьбовое крепление моментом 27-30 Н·м (2,7-3,0 кгс·м). Промежуточную опору установить на поперечину рамы и, убедившись в отсутствии ее перекоса относительно продольной оси автомобиля, затянуть гайки моментом силы 12-18 Н·м (1,2-1,8 кгс·м).
Крепление промежуточной опоры к поперечине производить только на стоящем на колесах автомобиле.
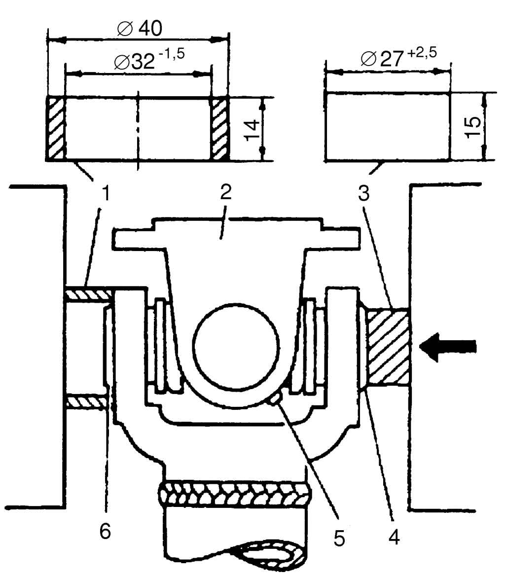
Размеры сопрягаемых деталей карданной передачи приведены в табл. 5.4.
Таблица 5.4. Размеры сопрягаемых деталей карданной передачи, мм

Видео про «Ремонт карданной передачи» для ГАЗ 2705
Замена крестовины кардана
Причина вибрации кардана и кпп газель бизнес
Замена крестовин кардана Газель 3302.Replacement of details the Gazelle 3302.






















































